(623) 551-4402
4220 W. Opportunity way, suite 125
phoenix, az 85086
Toggle navigation
Home
Showroom
Manufacturer Models
All Inventory
New Inventory
Pre-Owned Inventory
Promotions
Value Your Trade
Request A Model
Schedule a Test Ride
Shop Online
Catalogs
Parts Finder
Kommander
GP1
Turbo Kits
Dealer Services
Service Department
Schedule Service
Warranty & Recall Look-Up
Parts Department
Request Parts
Secure Financing
Dealer Info
Our Dealership
Map & Hours
Events
Reviews
Customer Survey
Contact Us
Home
›
Shop Online
›
Parts Finder
Parts Finder
This page is currently under construction. Please check back soon.
Search by :
Part / Desc
VIN
Yamaha
*Please enter at least 3 characters
SEARCH
Manufacturer
Yamaha
Watercraft
2024
FX HO WAUDIO_ FX HO (FX1900BA/FX1900CA)
VIEW WISH LIST
Select a Section
Show/Hide
BILGE PUMP
BREATHER OIL
CONTROL CABLE
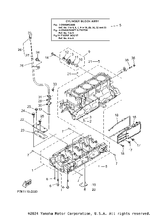
CRANKCASE
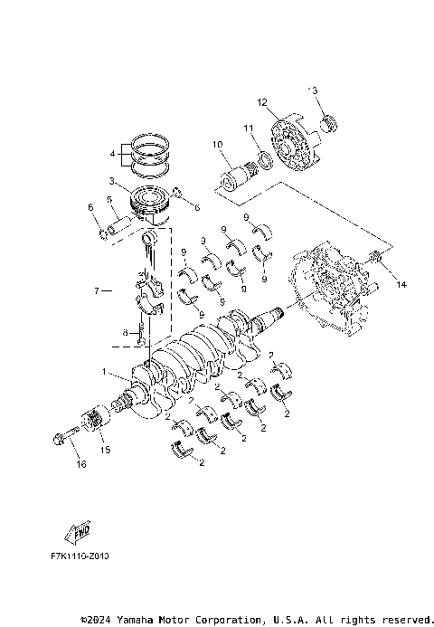
CRANKSHAFT & PISTON
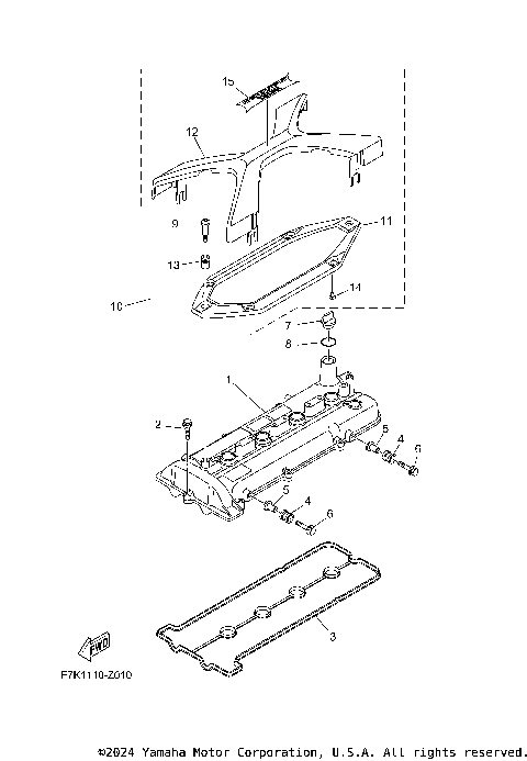
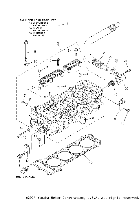
CYLINDER 1
CYLINDER 2
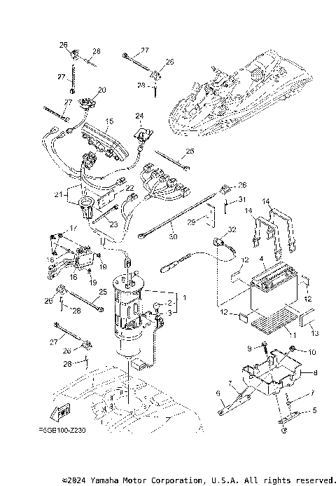
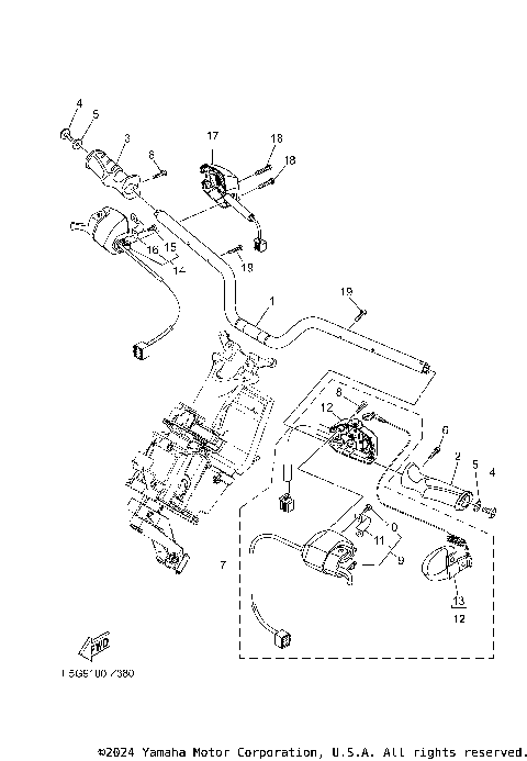
ELECTRICAL 1
ELECTRICAL 2
ELECTRICAL 3
ELECTRICAL 4
ENGINE HATCH 1
ENGINE HATCH 2
ENGINE MOUNT
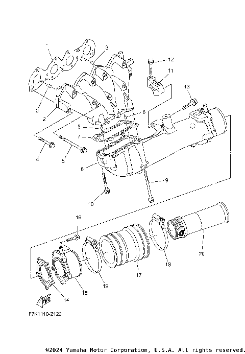
EXHAUST 1
EXHAUST 2
EXHAUST 3
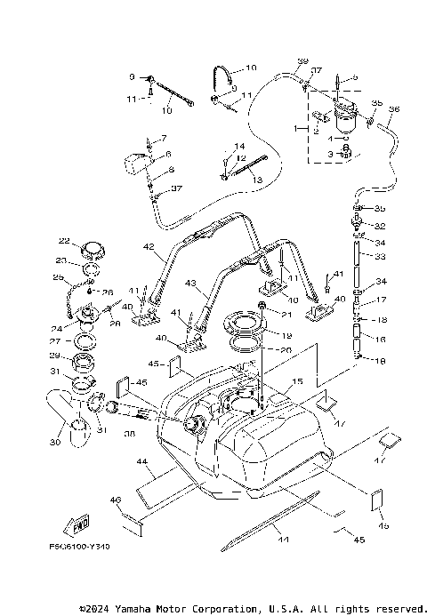
FUEL TANK
GENERATOR
GRAPHICS
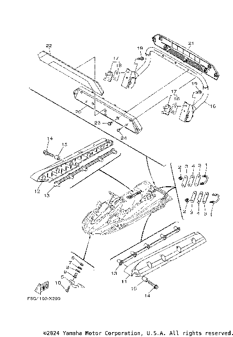
GUNWALE & MAT
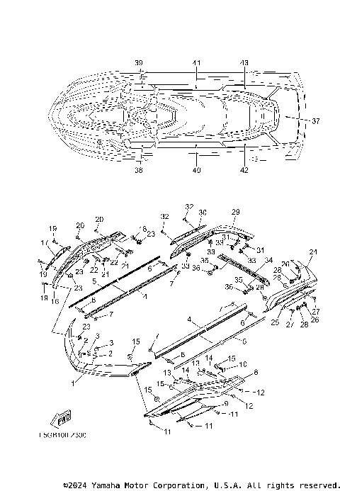
HULL & DECK
HULL & DECK 2
IMPORTANT LABELS
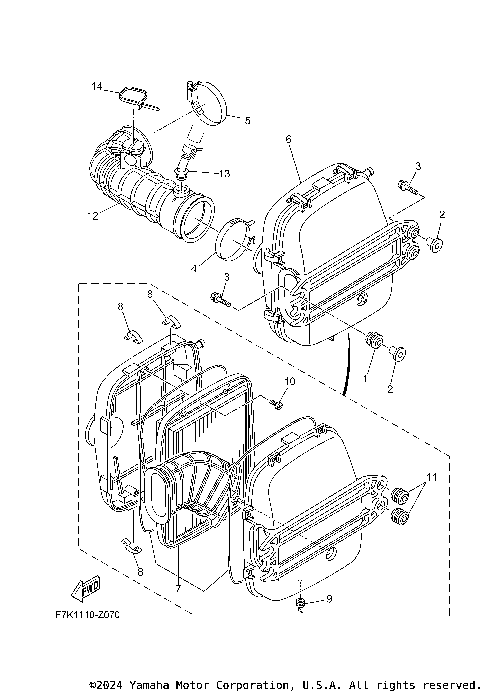
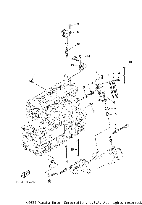
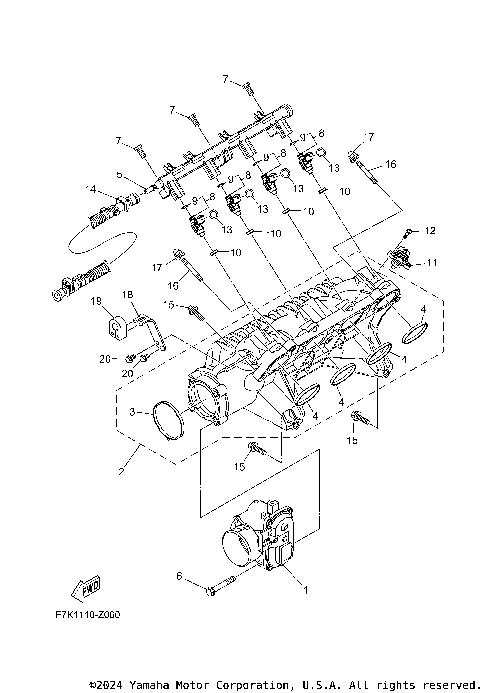
INTAKE 1
INTAKE 2
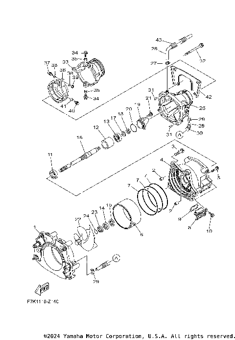
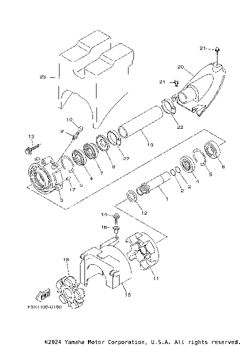
JET UNIT 1
JET UNIT 2
JET UNIT 3
JET UNIT 4
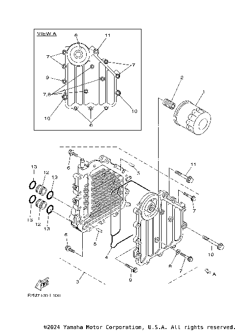
OIL COOLER
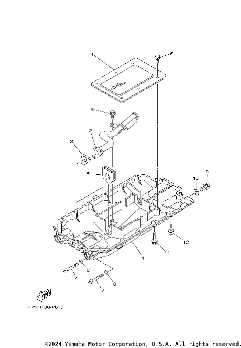
OIL PAN
OIL PUMP
REPAIR KIT 1
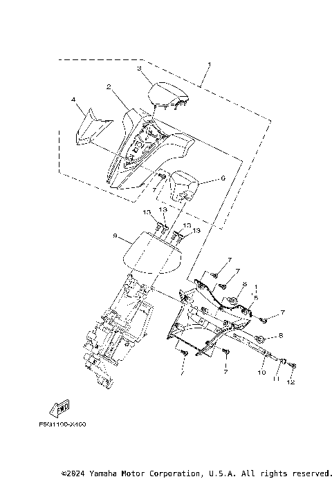
SEAT & UNDER LOCKER
SEAT & UNDER LOCKER 2
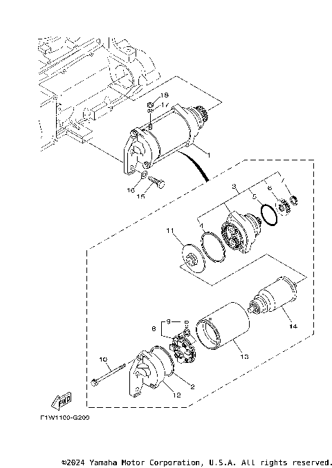
STARTING MOTOR
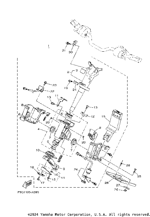
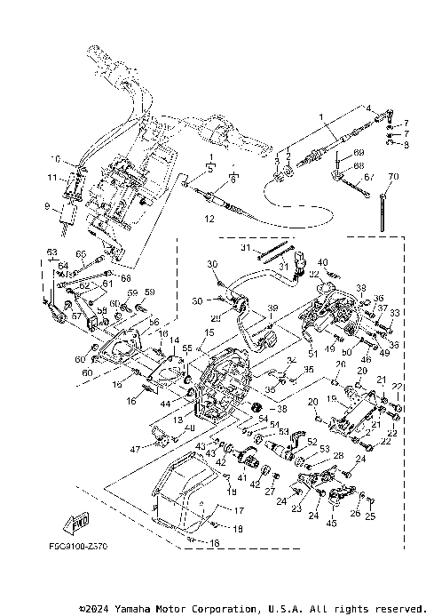
STEERING 1
STEERING 2
STEERING 3
VALVE
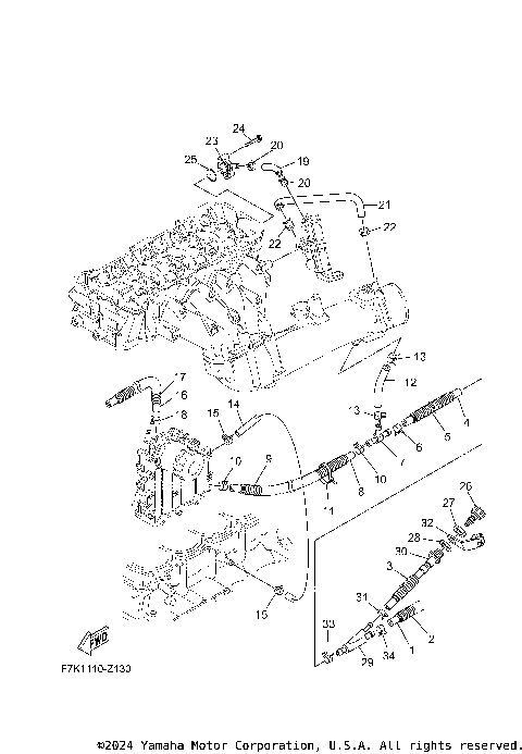
VENTILATION
BILGE PUMP
BREATHER OIL
CONTROL CABLE
CRANKCASE
CRANKSHAFT & PISTON
CYLINDER 1
CYLINDER 2
ELECTRICAL 1
ELECTRICAL 2
ELECTRICAL 3
ELECTRICAL 4
ENGINE HATCH 1
ENGINE HATCH 2
ENGINE MOUNT
EXHAUST 1
EXHAUST 2
EXHAUST 3
FUEL TANK
GENERATOR
GRAPHICS
GUNWALE & MAT
HULL & DECK
HULL & DECK 2
IMPORTANT LABELS
INTAKE 1
INTAKE 2
JET UNIT 1
JET UNIT 2
JET UNIT 3
JET UNIT 4
OIL COOLER
OIL PAN
OIL PUMP
REPAIR KIT 1
SEAT & UNDER LOCKER
SEAT & UNDER LOCKER 2
STARTING MOTOR
STEERING 1
STEERING 2
STEERING 3
VALVE
VENTILATION
VIEW WISH LIST